Дата публікації Google представила концепт розумного одягу: що він вміє
Опубліковано 03.11.18 12:16
Дата оновлення Google представила концепт розумного одягу: що він вміє
Оновлено 31.05.25 14:25
Переглядів статті Google представила концепт розумного одягу: що він вміє 9

Google представила концепт розумного одягу: що він вміє

Поділитися цією новиною в Facebook Поділитися цією новиною в Twitter Поділитися цією новиною в Twitter

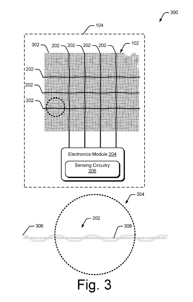
Корпорація Google оформила заявку на патент розумного одягу. Ґаджет зможе сповіщати власника про різні події за допомогою вібрації.

Про це повідомляє 4PDA.

Конструкція розумного одягу передбачає наявність вбудованих в предмети гардероба вібромоторів з низьким енергоспоживанням. При отриманні SMS, повідомлення або вхідному дзвінку розумний одяг зможе оповістити свого власника.

Google
Google планує створювати розумний одяг

Взаємодія з підключеними до нього пристроями здійснюватиметься за допомогою частин тканини з підтримкою мультитач, які реагують на доторки.

Google
Нова розробка буде сповіщати користувача вібрацією

Варто відзначити, що патент це лише концепт, і найближчим часом навряд чи варто очікувати серійного виробництва такої новинки. Однак той факт, що Google "зарезервувала" ідею, може свідчити про початок розробки нового напряму на ринку ґаджетів.

Google
Наразі невідомо коли Google представить перші доробки у цій галузі

Більше новин, що стосуються подій зі світу технологій, ґаджетів, штучного інтелекту, а також космосу читайте у розділі Техно

24.ua

Корпорація Google оформила заявку на патент розумного одягу. Ґаджет зможе сповіщати власника про різні події за допомогою вібрації.

Про це повідомляє 4PDA.

Конструкція розумного одягу передбачає наявність вбудованих в предмети гардероба вібромоторів з низьким енергоспоживанням. При отриманні SMS, повідомлення або вхідному дзвінку розумний одяг зможе оповістити свого власника.

Google Google планує створювати розумний одяг

Взаємодія з підключеними до нього пристроями здійснюватиметься за допомогою частин тканини з підтримкою мультитач, які реагують на доторки.

Google Нова розробка буде сповіщати користувача вібрацією

Варто відзначити, що патент це лише концепт, і найближчим часом навряд чи варто очікувати серійного виробництва такої новинки. Однак той факт, що Google "зарезервувала" ідею, може свідчити про початок розробки нового напряму на ринку ґаджетів.

Google Наразі невідомо коли Google представить перші доробки у цій галузі

Більше новин, що стосуються подій зі світу технологій, ґаджетів, штучного інтелекту, а також космосу читайте у розділі Техно

24.ua